This is the device which kept Stan's water tank from freezing in the winter.
It's primary purpose is to heat the water to prevent freezing.
Lets see what we can come up with!
Here is one of the circuit diagrams from the patent
Stan's Steam Resonator
Re: Stan's Steam Resonator
The steam resonator was expressly used for preventing Stan's water tank from freezing in the winter, and was not used to mix anything into the engine.
When in doubt, listen to Stan's own description in the dunebuggy video.
The "water splitting" took place downstream in Stan's fuel cell or resonant cavity.
The steam resonator is still very important when you have gallons of water in a cold Ohio climate!
Here are some more documents about the resonator.
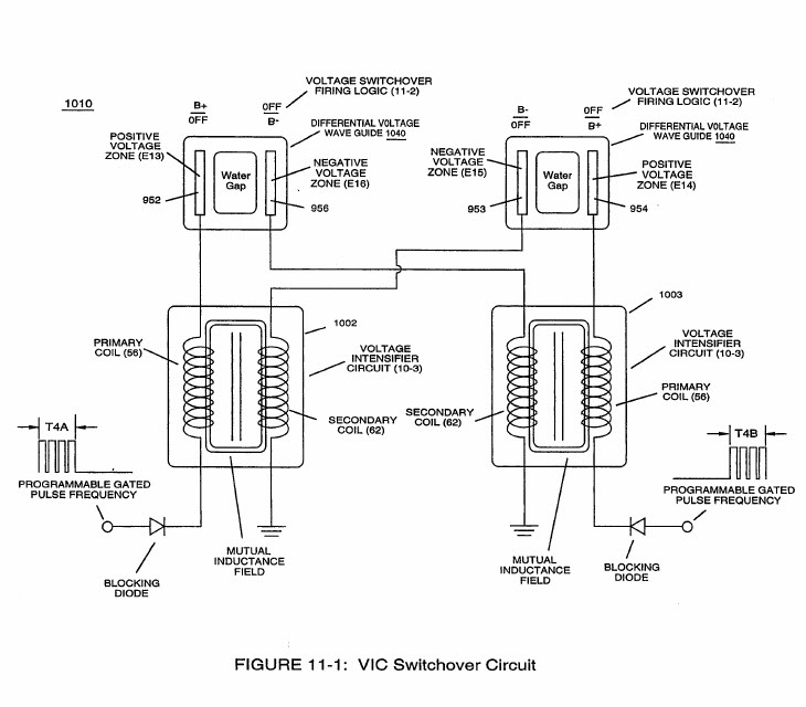
The VIC coils are similar to those of the resonant cavity, but Stan pulsed them on and off, moving the water molecules and generating heat in the water with VERY little current!
As you can see from the documents below, Stan alternated the pulses on and off - when one was off, the other was on, causing the water molecules to move.
The possibilities of this design are endless, if someone can replicate this.
As with most of Meyer's patents - they include the general layout of the designs, but no specifics.
I believe this was done to ensure his patent covered all related designs (methodology), and not just a specific set of values.
Can you imagine: low current water heaters?
Stan was working on a home heater unit also Wink
When in doubt, listen to Stan's own description in the dunebuggy video.
The "water splitting" took place downstream in Stan's fuel cell or resonant cavity.
The steam resonator is still very important when you have gallons of water in a cold Ohio climate!
Here are some more documents about the resonator.
The VIC coils are similar to those of the resonant cavity, but Stan pulsed them on and off, moving the water molecules and generating heat in the water with VERY little current!
As you can see from the documents below, Stan alternated the pulses on and off - when one was off, the other was on, causing the water molecules to move.
The possibilities of this design are endless, if someone can replicate this.
As with most of Meyer's patents - they include the general layout of the designs, but no specifics.
I believe this was done to ensure his patent covered all related designs (methodology), and not just a specific set of values.
Can you imagine: low current water heaters?
Stan was working on a home heater unit also Wink
- Attachments
-
- Stan_Meyer_Steam_Resonator_Schematic5.gif (11.55 KiB) Viewed 24153 times
-
- Stan_Meyer_Steam_Resonator_Schematic4.gif (7.91 KiB) Viewed 24153 times
-
- Stan_Meyer_Steam_Resonator_Schematic1.gif (7.82 KiB) Viewed 24153 times
Praise the Lord and Pass the Ammunition!
Job 28:22-23
Job 28:22-23
Re: Stan's Steam Resonator
It seems Stan had at least two versions of the steam resonator itself for the dune buggy.
If you watch the video where Stan talks about the buggy and functions, you will see his assistants
removing the resonator and tightening it in the background.
It is different than the above images, but could be using the same circuitry.
Note the above pics of the water tank is a red plastic tank (an earlier prototype).
The picture below shows his more advanced design.
Here is a pic of the version shown in the video with Stan:
If you watch the video where Stan talks about the buggy and functions, you will see his assistants
removing the resonator and tightening it in the background.
It is different than the above images, but could be using the same circuitry.
Note the above pics of the water tank is a red plastic tank (an earlier prototype).
The picture below shows his more advanced design.
Here is a pic of the version shown in the video with Stan:
- Attachments
-
- Stan_Meyer_Dunebuggy_Steam_Resonator.jpg (17.22 KiB) Viewed 24153 times
Praise the Lord and Pass the Ammunition!
Job 28:22-23
Job 28:22-23
Re: Stan's Steam Resonator
Here are two images of Stan's steam resonator coil.
The first is an image of Stan's coil assembly, with some of the driver circuit (transistors).
The second image is a transcription of the coil and assembly, as much as we can determine so far, into a schematic diagram.
It appears Stan was switching signals somehow, but the design needs more research to determine the complete schematic.
The first is an image of Stan's coil assembly, with some of the driver circuit (transistors).
The second image is a transcription of the coil and assembly, as much as we can determine so far, into a schematic diagram.
It appears Stan was switching signals somehow, but the design needs more research to determine the complete schematic.
Praise the Lord and Pass the Ammunition!
Job 28:22-23
Job 28:22-23
Re: Stan's Steam Resonator
Stan's steam resonator seems to be a popular subject for many enthusiasts, so here is another diagram of Stan's home heating unit (a spinoff of the steam resonator technology).
Praise the Lord and Pass the Ammunition!
Job 28:22-23
Job 28:22-23
Re: Stan's Steam Resonator
To those interested in Stans steam resonator setup: don't be dismayed! The technology will come out. It involves alternating charges on the water molecule as Stan said, the difference is the potential is not applied to the molecule at the same time - it will eventually be solved! Imagine the savings on heating bills...
Praise the Lord and Pass the Ammunition!
Job 28:22-23
Job 28:22-23
Re: Stan's Steam Resonator
More photos added to the gallery of Stan's Home Heating unit, which uses similar technology to his steam resonator on the dunebuggy:
http://stansdream.com/gallery2/index.ph ... lbum&id=25
Also, here is a schematic for the steam resonator from one of Stan's documents
http://stansdream.com/gallery2/index.ph ... lbum&id=25
Also, here is a schematic for the steam resonator from one of Stan's documents
Praise the Lord and Pass the Ammunition!
Job 28:22-23
Job 28:22-23